Are you looking for information on wide flange column sizes? Look no further! Wide flange columns are a popular choice for structural applications due to their versatility and strength.
Whether you are an engineer, architect, or DIY enthusiast, having access to a wide flange column size chart can be incredibly helpful in planning and designing your projects. It allows you to quickly and easily determine the dimensions and properties of different columns.
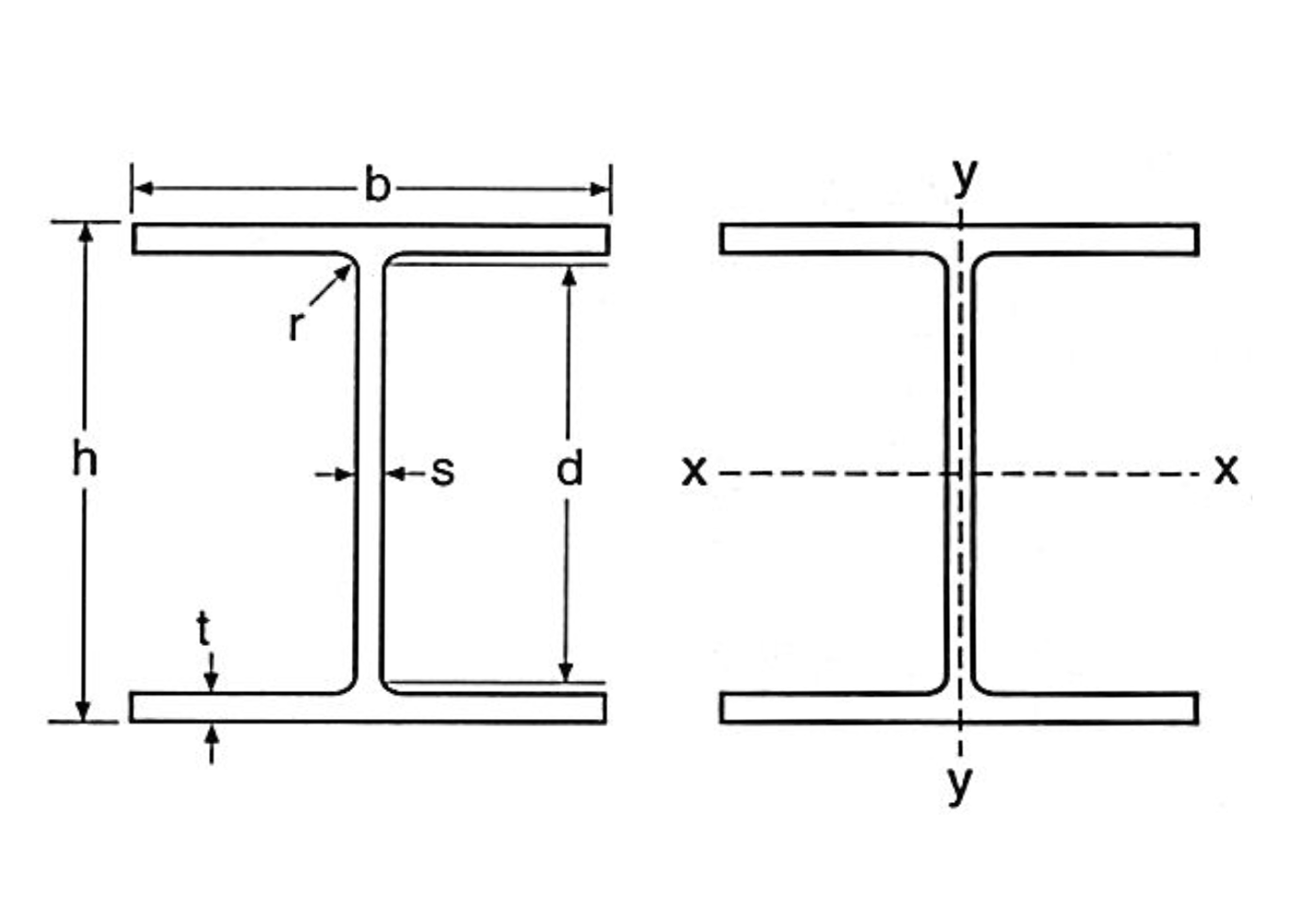
Wide Flange Column Size Chart
Wide Flange Column Size Chart
When using a wide flange column size chart, you will find a range of sizes available, each with its own unique properties. These charts typically include information such as the depth, width, weight per foot, and section modulus of each column size.
By referring to a wide flange column size chart, you can select the appropriate column size based on the specific requirements of your project. This ensures that your structure is strong and stable, meeting all necessary safety standards.
Whether you are building a residential home, commercial building, or industrial facility, using a wide flange column size chart can streamline the design process and help you make informed decisions about the structural components of your project.
In conclusion, a wide flange column size chart is a valuable resource for anyone involved in structural design and construction. By utilizing this tool, you can easily compare different column sizes and select the best option for your needs, ensuring a successful and safe outcome for your project.
All About Wide Flange TKL Steel Corporation
Universal Columns UK Sizes Murray Structural


